廢舊金屬
適用物料廢鐵皮,廢鋼,鐵屑鋼屑等
全國24小時銷售熱線:
0371-5501 8888

技術領域:
本實用新型屬于工業機械領域,尤其涉及一種廢鐵皮破碎機。
背景技術:
廢鐵皮的回收過程中需要經過破碎處理。目前市面上的廢鐵皮破碎機體積大、結構復雜、不便于撤運,而且維修和維護的成本高,由于多采用壓力破碎,很難使廢鐵皮破碎得充分均勻。
發明內容:
本實用新型為解決公知技術中存在的技術問題而提供一種結構簡單、便千搬運、效率高的廢鐵皮破碎機。
本實用新型為解決公知技術中存在的技術問題所采取的技術方案是一種廢鐵皮破碎機,包括破碎框和壓板,所述破碎框一側安裝有電機,所述電機與轉軸相連,所述轉軸上焊有破碎刀片,所述破碎框底部開有破碎空隙。
進一步,所述破碎框兩側焊有仄板,所述破碎框后側開有出料日。
進一步,所述壓板下方N有支撐腿。
附圖說明:
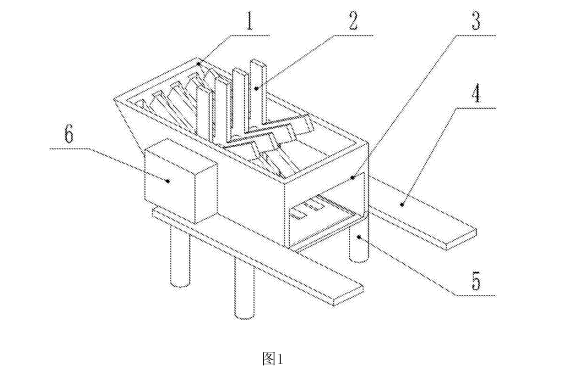
1、圖1是本實用新型實施例提供的整體結構示意圖。

2、圖2是本實用新型實施例提供的破碎框的結構示意圖。

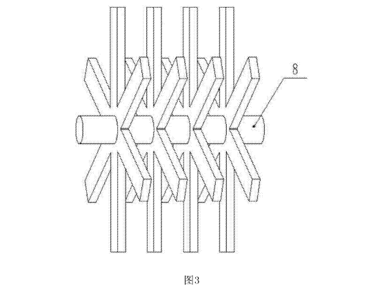
3、圖3是本實用新型實施例提供的轉軸和破碎刀片的結構示意圖。

4、圖中:1、破碎框:2,破碎刀片;3、出料口:4、壓板:5、支撐腿:6、電機;7、破碎空隙;8.轉軸。
具體實施方式:
為能進一步了解本實用新型的發明內容、特點及功效,茲列舉以下實施例,并配合附圖詳細說明如下。
下面結合圖1-3對本實用新型的廢鐵皮破碎機的結構作詳細的描述。一種廢鐵皮破碎機,包括破碎框l和壓板4,所述破碎框1一側安裝有電機6,所述電機6與轉軸8相連,所述轉軸8上焊有破碎刀片2,所述破碎框1底部開有破碎空隙7,所述破碎框1兩側焊有壓板4,所述破碎框l后側開有出料口3,所述壓板4下方焊有支撐腿5。
以上所述僅是對木實用新型的較佳實施例而已,并非對本實用新型作任何形式上的限制,凡是依據本實用新型的技術實質對以上實施例所做的任何簡單修改,等同變化與修飾,均屬于本實用新型技術方案的范圍內。
豫暉電商部 ???地址:河南鄭州高新區化工西路 ???豫ICP備10209222號-2 營業執照